Читать книгу - "Универсум. Общая теория управления - Владислав Масликов"
Рассмотрим этот процесс на примере универсума класса 4U2.
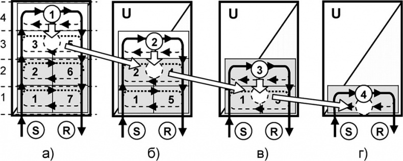
Успешно отработанная реакция R («отклик») на входной стимул S, обозначенная номером (1) (рис. 3.2а) приводит к закреплению алгоритмики отработки этого воздействия на универсумном уровне 1. На этом уровне создаётся соответствующая структура элементов – информационный контур, U-поток, отрабатывающий это воздействие. С этого момента любое повторение внешнего воздействия, совпадающего (когерентного) с уже запомненным в элементах универсумной структуры, будет вполне успешно отрабатываться созданной структурой автоматически, обеспечивая эффективное выживание универсума во внешней среде. В традиционном психическом описании этой алгоритмике соответствует известное понятие «безусловный рефлекс».
Поступление на вход S нового, более сложного, в чём-то конфликтующего с прежней алгоритмикой обработки стимула вызывает необходимость создания структуры более высокого уровня (2), разрешающего это противоречие (рис. 3.2б). Требование организации реакции R на более высоком уровне диктуется обязательностью сохранения памяти о правильной реакции на первоначальные, простые стимулы (траектория U-потока S-1–3-R), которая в виде межэлементных структур («опыта») сохраняется на первом универсумном уровне. Общая последовательность выработки новой реакции: противоречие – новая межэлементная связка – проверка работоспособности связки – не/приятие связки с не/внесением на более высокий стратификационный уровень и/или в стандартный пул реакций, что в традиционном описании алгоритмики универсумного уровня 2 соответствует понятию психологии «условный рефлекс».
Более сложные, многофакторные стимулы S вызывают появление третьего (рис. 3.2в) и четвертого (рис. 3.2 г) уровней. В традиционном психологическом описании этим уровням будет соответствовать понятие более сложных, многофакторных условных рефлексов. Понятно, что качественно более широкий диапазон страт реальных, сложных универсумов обязательно «спрессует» понятия «безусловного», «условного» и других «рефлексов» в нижнюю страту и расширит описание процессов до соответствующих сложных форм поведения. Тем не менее, общие принципы организации высших уровней как системы конструктивного разрешения конфликтов (а не их капсуляции, купирования, блокировки и/или силового подавления[69]) остаются неизменными.
Результатом такой алгоритмики для 4U является создание межэлементных структур, способных на соответствующих уровнях отрабатывать любые факторы среды: простые – по контуру U-потока S-1–7-R (рис. 3.2 г), усложнённые – по контуру U-потока S-1–2–6–7-R, многофакторные – по U-контуру S-1–2–3–5-6–7-R, ну и самые сложные будут обрабатываться по полному контурному циклу S-1–2–3–4-5–6-7-R.
Отметим, что траектория S-1–2–3–4-5–6-7-R для универсума класса 4U2 соответствует далее рассматриваемой Полной Функции Управления (ПФУ) – иерархически упорядоченной последовательности действий, необходимых для решения любой задачи управления.
Получение в процессе развития всё нового и нового «опыта» об отработке всех возможных факторов внешней среды постепенно переводит универсум в новое качество – качество информационного насыщения как алгоритмике отработки определённого диапазона воздействий внешней среды. Конечно же, внесение в алгоритмику работы универсумных структур ошибок, неправильная структуризация межэлементных связей, выбор неадекватной внешнему воздействию S реакции R неизбежно приводит универсум к снижению степени защищённости от неблагоприятных воздействий вплоть до его разрушения под влиянием внешней среды.
Подобные ошибки со стороны отдельных людей и целых коллективов всегда возможны и будут повторяться, пока организационное сознание людей остается не оформленным в точную и строгую науку [7].
В этом случае можно говорить об обратном развитию процессе генезис-регресса или генезис-разрушении универсума, который вызван не естественным старением его элементов, а информационным воздействием, внёсшим некорректности в структуру межэлементных связей. Внесённые в отражающие внешний мир универсумные структуры ошибки неизбежно порождают неадекватные внешней среде реакции и, следовательно, не позволяют универсуму выполнять свою основную функцию – функцию выживания во внешней среде[70].
Таким образом, в процессе генезис-развития, по мере роста (движения по объединению от элементов в Универсум) происходит постепенная перестройка первоначальных информационных функций элементов в сторону перепрофилирования на общие потребности Универсума: минимальным изменениям подвергается материальная база элементов, максимальной реорганизации подвергается информационное состояние.
Не менее важной стороной генезиса являются два взаимно дополнительных процесса, которые можно назвать с одной стороны генезис-погружением или «упаковкой» информации в нижние (материальные) страты, и с другой генезис-всплытием или «распаковкой» информации, содержащейся в материальных стратах.
На примере универсума класса 4U3 «упаковка-погружение» информации на происходит следующим образом. Определённая статистика успешно отработанных реакций R на входной стимул S (путь S-1–2-3-(1)-5–6-7-R, Рис 3.3а), обозначенная номером (1) приводит к закреплению алгоритмики отработки этого воздействия на текущем универсумном уровне и затем к его погружению на нижний 3-й уровень. Уровень 4 в универсуме является максимально динамичным, но и обладающим самой медленной скоростью выработки реакции на входное воздействие, поэтому для повышения эффективности работы системы процессы, алгоритмика работы которых статистически закрепилась, неизбежно должны перемещаться в нижние, более быстрые в реакциях страты. После такого «погружения» отработка того же самого стимула элементом (2) происходит по более короткой траектории (S-1–2-(2)-4–5-R, рис 3.3б) и, следовательно, время реакции системы на входное воздействие сокращается. После набора статистики успешных реакций и на этом уровне происходит аналогичный процесс погружения, который приводит к ещё большему сокращению (S-1-(3)-3-R, рис 3.3в) времени реакции универсума. Статистика успешных реакций на этом уровне приводит и к следующему аналогичному шагу – погружению алгоритмики работы внешнего воздействия на самый нижний материальный (4) уровень (рис. 3.3 г). С каждым шагом погружения на отработку «привычных» внешних воздействий универсум расходует всё меньше и меньше ресурсов, становясь при этом более оптимальной, точно организованной системой.

Рис. 3.3. Универсумное генезис-«погружение» информации
Что касается схем работы человеческого интеллекта, то на каждом шаге погружения информация становится все более сжатой, упакованной, постепенно переходя из области разумного осмысления и область вначале условных, затем и безусловных рефлексов. В пределе информация в максимально упакованном, материальной виде погружается в самые нижние области страты – области, которые в традиционной психологии именуются уровнями «бессознательного», «интуитивного», «генетически обусловленного». В компьютерных системах этим уровням соответствуют машинные языки и микропрограммный уровень организации вычислительных процессов.
Прочитали книгу? Предлагаем вам поделится своим впечатлением! Ваш отзыв будет полезен читателям, которые еще только собираются познакомиться с произведением.
Оставить комментарий
- Аида06 май 10:49Дикарь королевских кровей. Книга 2. Леди-фаворитка - Анна Сергеевна ГавриловаЧитала легко, местами хоть занудно. Но, это лучше, чем 70% подобной тематики произведений.
- вера02 май 00:32Сокровище в пелёнках - Ирина Агуловатекст не четкий трудно читать наверное надоест сброшу книгу может посоветуете как улучшить
- Калинин максим30 апрель 10:11Время Темных охотников - Евгений ГаглоевНедавно прочитал книгу «Время тёмных охотников» и хочу поделиться своими впечатлениями. Автор создал увлекательный мир, полный тайн и загадок. Сюжет затягивает с первых
- Vera24 апрель 16:25Мемуары голодной попаданки - Наталья ВладимироваБольшое спасибо. Прочитала на одном дыхании. Очень положительная героиня. Желаю автору здоровья и новых увлекательный книг.







