Читать книгу - "Забор, ограда, калитка на дачном участке. Строим своими руками - Иван Никитко"
Аннотация к книге "Забор, ограда, калитка на дачном участке. Строим своими руками - Иван Никитко", которую можно читать онлайн бесплатно без регистрации

Рис. 2.23. Комбинированное расположение досок ограды
Расположение элементов обрешетки может быть не только горизонтальным или вертикальным. Возможно любое расположение, к примеру под углом. Если вы хотите создать оригинальную ограду, можно выбрать диагональное расположение штакетника. Для этого нужно будет изготовить раму, к которой он и будет крепиться. Рама затем закрепляется на лагах.
Рама может быть как строго прямоугольной, так и со срезанными углами — подобная форма способствует лучшему стоку воды и удлиняет срок службы ограды.
Можно выбрать веерное расположение штакетника — это позволит использовать минимальное количество материала и получить оригинальную ограду. Штакетник в этом случае крепится непосредственно к лагам.
Забор из штакетника или досок можно украсить декоративными элементами, выполненными из реек (рис. 2.24).

Рис. 2.24. Декоративный элемент деревянной ограды
Наиболее бюджетный вид деревянной ограды — частокол. Фактически это просто деревянные колья, вбитые в землю (рис. 2.25).

Рис. 2.25. Частокол
Для того чтобы запастись материалом для такой ограды, достаточно прогуляться в ближайший лес. Материал для частокола можно получить и на собственном участке — вырубая ненужные деревья и кустарники. Для большей устойчивости такой ограды сначала устанавливаются опорные столбы, к которым крепятся две или три лаги, а уже с ними переплетаются колья.
Минусом частокола является его низкая декоративность, однако это исправимо — частокол может быть украшен плетущимися растениями (виноградом, плющом, шиповником, плетущимися розами). Если использовать для украшения частокола виноград, то таким образом можно получить дополнительный кусочек сада — ограда одновременно будет являться источником ягод.
Частокол также можно украсить развешанными по нему горшками — получится весьма интересный вариант ограды «под старину». При соответствующем дизайне участка такая ограда может быть весьма декоративной.
Для установки частокола потребуются опорные столбы, лаги и сами колья. Опорные столбы и лаги устанавливаются так же, как и для забора из штакетника. Колья переплетаются с лагами и вбиваются в землю. Для увеличения срока службы частокола желательно обработать нижнюю часть кольев, входящую в грунт, так же, как и нижнюю часть опорных столбов.
Еще один почти бесплатный вариант деревянной ограды — плетень, изготовленный из лозы. Лозой можно запастись у ближайшего водоема. Хорошо подойдут ветви орешника (рис. 2.26). Правда, изготовление плетня требует сил, времени и терпения.

Рис. 2.26. Плетень
Для изготовления плетня потребуются опорные столбы, колья и основной материал — лоза или орешник. Столбы устанавливаются так же, как и при монтаже обычного забора из штакетника, с тем же шагом — 2–2,5 м. Столбы могут быть деревянными, металлическими, бетонными, кирпичными и т. д., по желанию и возможностям. Лучше всего с плетнем сочетаются деревянные столбы, но и металлические трубы, окрашенные «под дерево», смотрятся тоже неплохо. После установки столбов в землю вбиваются колья (их нижняя часть защищается от гниения так же, как и нижняя часть столбов). Колья являются основной опорой для плетня.
ПРИМЕЧАНИЕ
Вместо кольев можно использовать металлические трубы небольшого диаметра.
После того как все опоры установлены, начинается собственно само плетение. Ветви, предназначенные для плетня, предварительно ошкуриваются — с них снимается кора. Ветви, пораженные грибком или насекомыми, следует отбраковывать и не использовать их для изготовления ограды, в противном случае срок службы плетня будет недолгим. Ветви переплетают с опорными кольями. Нижняя часть плетня не должна соприкасаться с грунтом, оптимальное расстояние — 10–15 см. После того как плетень смонтирован, его можно покрыть лаком — такое покрытие не только защищает ограду от гниения, но и сохраняет живую структуру древесины, что придаст плетню «старинный» вид. Плетень также можно просто покрасить в любой желаемый цвет.
Плетень может быть любой нужной вам высоты. Такой забор используется для ограждения участка, невысокие плетни хорошо подходят и для ограждения отдельных частей участка (к примеру, посадок ягодных кустарников), а с помощью низких плетней можно создавать декоративные клумбы и альпийские горки.
Для украшения плетня можно использовать те же средства, что и для украшения штакетника, — горшки, плетущиеся растения.
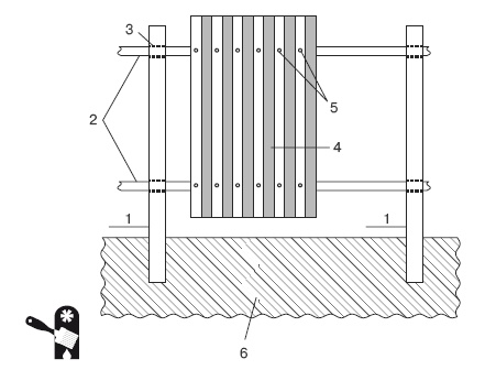
Для возведения ограды из профнастила потребуется сам профнастил (ширина листа выбирается в зависимости от желаемой высоты ограды), опорные столбы, лаги и саморезы (рис. 2.27).

Рис. 2.27. Ограда из профнастила:
1 — столб; 2 — лаги; 3 — сварка; 4 — профлист; 5 — саморезы; 6 — грунт
Опорные столбы и лаги обычно изготавливаются из сварной профильной трубы 60 × 60 мм и 40 × 40 мм соответственно. При желании можно приобрести комплект с антикоррозийным покрытием любого желаемого цвета. Иногда для удешевления ограды используются столбы и лаги из дерева, но в этом случае ограда потребует регулярного ухода: древесина подвержена гниению и ее необходимо периодически осматривать и восстанавливать защитное покрытие. Саморезы могут быть как алюминиевыми, так и стальными. Алюминиевые саморезы дешевле и не подвержены коррозии, но они могут деформироваться из-за сезонных перепадов температуры.
Прочитали книгу? Предлагаем вам поделится своим впечатлением! Ваш отзыв будет полезен читателям, которые еще только собираются познакомиться с произведением.
Оставить комментарий
-
Вера Попова27 октябрь 01:40
Любовь у всех своя-разная,но всегда это слово ассоциируется с радостью,нежностью и счастьем!!! Всем добра!Автору СПАСИБО за добрую историю!
Любовь приходит в сентябре - Ника Крылатая
-
Вера Попова10 октябрь 15:04
Захватывает,понравилось, позитивно, рекомендую!Спасибо автору за хорошую историю!
Подарочек - Салма Кальк
-
Лиза04 октябрь 09:48
Роман просто супер давайте продолжение пожалуйста прочитаю обязательно Плакала я только когда Полина искала собаку Димы барса ♥️ Пожалуйста умаляю давайте еще !))
По осколкам твоего сердца - Анна Джейн
-
yokoo18 сентябрь 09:09
это прекрасный дарк роман!^^ очень нравится
#НенавистьЛюбовь. Книга вторая - Анна Джейн


