Читать книгу - "Забор, ограда, калитка на дачном участке. Строим своими руками - Иван Никитко"
Аннотация к книге "Забор, ограда, калитка на дачном участке. Строим своими руками - Иван Никитко", которую можно читать онлайн бесплатно без регистрации
Столбы и лаги установлены, теперь осталось просто прибить штакетник к лагам оцинкованными гвоздями. При этом нижний край штакетника не должен доходить до грунта примерно на 10 см — чтобы исключить впитывание влаги с грунта и гниение древесины.
Нежелателен контакт нижнего края деревянного забора не только с грунтом, но и с растениями. Прополку в непосредственной близости от ограды делать затруднительно, к тому же сложно пользоваться садовыми инструментами. Гораздо проще обработать землю под оградой и вдоль нее отработанным машинным маслом, чтобы исключить рост растений.
При установке «прозрачного» забора штакетник закрепляется таким образом, чтобы между досками оставалось выбранное расстояние. Если же ваша цель — сплошной забор, то между досками необходимо оставлять небольшой зазор, так как иначе забор может деформироваться после первого дождика.
Для того чтобы увеличить срок службы забора, желательно использовать штакетник с закруглением в верхней части или обрезанный под углом — для лучшего стока воды. Можно также защищать штакетник от влаги с помощью деревянного уголка или доски (рис. 2.12–2.16).

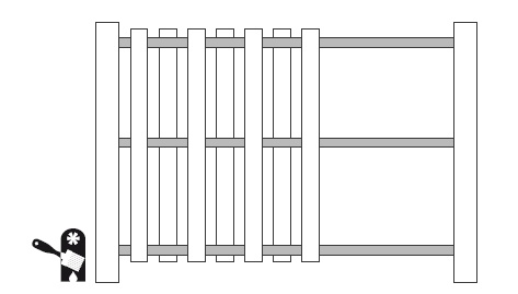
Рис. 2.12. Забор из штакетника с закруглением и обрезом по дуге:
1 — доска; 2 — лаги из бруса; 3 — опорный столб; 4 — уголки для крепления лаг

Рис. 2.13. Забор из штакетника с обрезом по дуге

Рис. 2.14. Забор из штакетника с уголком:
1 — доска; 2 — опорный столб; 3 — уголки для крепления лаг; 4 — уголок деревянный

Рис. 2.15. Забор из штакетника с закруглением:
1 — доска; 2 — лаги из бруса; 3 — опорный столб; 4 — уголки для крепления лаг

Рис. 2.16. Штакетник с закруглением и с заострением верхней части
Деревянный забор из штакетника может быть и двусторонним — доски крепятся к лагам не с одной стороны, а с двух (и со стороны улицы, и с внутренней стороны забора). Двусторонний забор из штакетника может быть и «прозрачным», и сплошным (рис. 2.17). Для того чтобы такой забор был «прозрачным», доски крепятся к лагам так, чтобы между ними и досками противоположной стороны оставалось 20–30 см.

Рис. 2.17. «Прозрачный» двусторонний забор из штакетника
Возможно также крепление штакетника таким образом, чтобы доски с одной и второй стороны наполовину перекрывали одна другую — получается весьма прочное, устойчивое ограждение. Более декоративно выглядит сплошной двусторонний забор из штакетника, если расстояние между досками на каждой стороне составляет 20–30 см (рис. 2.18, 2.19).
Кроме вертикального крепления досок возможно и горизонтальное. Такой забор выглядит достаточно оригинально и придает участку индивидуальность. Для горизонтального крепления требуются доски большой длины — на всю длину пролета. Возможно несколько вариантов: крепление досок под углом (рис. 2.20), крепление досок встык друг к другу, крепление досок с переплетом (рис. 2.21). Крепление досок может быть как с одной стороны ограды, так и с двух — в случае параллельного расположения досок при двустороннем креплении ограда выглядит более декоративно (рис. 2.22).

Рис. 2.18. Глухой забор из штакетника: а — доски с разных сторон при креплении наполовину перекрывают друг друга; б — расстояние между досками на каждой стороне забора составляет 20–30 см

Рис. 2.19. Глухой забор из штакетника с двусторонним расположением досок
Крепление досок под углом продлевает срок службы ограды, так как способствует стоку воды.

Рис. 2.20. Горизонтальное расположение досок под углом

Рис. 2.21. Горизонтальное крепление досок с переплетом
Ограда с горизонтальным расположением досок обеспечивает лучшую ветрозащиту, чем ограда с вертикальным расположением, и особенно актуальна, если участок расположен в ветреном месте, не защищается соседними постройками или деревьями (что называется — в чистом поле).

Рис. 2.22. Двусторонний забор с горизонтальным расположением досок, параллельных друг другу
Возможно комбинирование двустороннего вертикального расположения досок и горизонтального — очень декоративный вариант ограды. Горизонтальные доски могут располагаться любым образом, в том числе и переплетом (рис. 2.23).
Прочитали книгу? Предлагаем вам поделится своим впечатлением! Ваш отзыв будет полезен читателям, которые еще только собираются познакомиться с произведением.
Оставить комментарий
-
Вера Попова27 октябрь 01:40
Любовь у всех своя-разная,но всегда это слово ассоциируется с радостью,нежностью и счастьем!!! Всем добра!Автору СПАСИБО за добрую историю!
Любовь приходит в сентябре - Ника Крылатая
-
Вера Попова10 октябрь 15:04
Захватывает,понравилось, позитивно, рекомендую!Спасибо автору за хорошую историю!
Подарочек - Салма Кальк
-
Лиза04 октябрь 09:48
Роман просто супер давайте продолжение пожалуйста прочитаю обязательно Плакала я только когда Полина искала собаку Димы барса ♥️ Пожалуйста умаляю давайте еще !))
По осколкам твоего сердца - Анна Джейн
-
yokoo18 сентябрь 09:09
это прекрасный дарк роман!^^ очень нравится
#НенавистьЛюбовь. Книга вторая - Анна Джейн


