Читать книгу - "Страх, паника, фобия. Краткосрочная терапия - Джорджио Нардонэ"
Аннотация к книге "Страх, паника, фобия. Краткосрочная терапия - Джорджио Нардонэ", которую можно читать онлайн бесплатно без регистрации
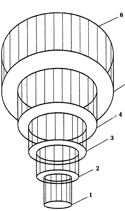
Теперь, после того как в терминах взаимодействия между устойчивым существованием и предпринятыми попытками решения проблемы мы описали перцептивно-реактивные системы, свойственные пяти различным типологиям фобических расстройств, являющихся объектом нашего исследования, Нам представляется полезным обобщить их кибернетическое функционирование и их обычную временную последовательность посредством наглядной схемы (см. рис.).
6. Установилась ригидная в своем дисфункциональном равновесии система восприятия окружающей действительности и реакций на нее, а именно замкнутый круг взаимодействий между предпринятыми попытками решения и устойчивым существованием проблемы.
5. Многократное повторение, все более ригидное в силу закрепления реакций и предвосхищения страха, становится спонтанным, автоматическим механизмом, более не требующим когнитивного усилия.
4. Эскалация предпринятых попыток решения, дальнейшее усложнение проблемы. Симптоматика требует вмешательства других людей (члены семьи, друзья, врачи и т. д.), то есть проблема начинает становиться частью более широкого системного равновесия, с соответствующими второстепенными преимуществами.
3. Усложнение проблемы на более высоком уровне. А именно, одномоментное облегчение чувства страха в результате осуществляемых попыток решения, но вместе с тем возрастание и усложнение симптоматики.
2. Реакции субъекта, направленные на снижение страха, контроль над ним и борьбу со страхом (первые предпринятые попытки решения проблемы, личные или с участием других людей).
1. Первое, реальное или воображаемое событие, которое вызывает первое ощущение страха, или первое сомнение (первое изменение перспективы в восприятии действительности).
Когда извращенная игра уже установилась, то, как утверждает Сальвини, «значение, придаваемое угрожающим событиям, реальным или воображаемым, управляется не только воспринятыми из культурной среды верованиями, но и тем, каким способом функционирует наше мышление, а именно: как оно реорганизует информацию, находящуюся в его распоряжении, в зависимости от ее содержания.
В конечном результате, для того чтобы человек интерпретировал события как угрожающие (что может быть более или менее оправданно), важную роль играют следующие моменты: приписывание событиям случайности, разделение их на категории, процессы логической дедукции, перформативные акты,[9] тенденция придавать законченный смысл и описательную структуру эпизодам и неоднородной последовательности событий, обращение к схематическим стереотипам и прототипам.
С точки зрения содержания подобные „умственные схемы“ приводят в действие и оценку фактов, в смысле их избирательности и оценки важности, они также добавляют недостающие элементы и придают значение, снимая возможные несоответствия, с тем, чтобы сделать их непротиворечащими теории об ожидаемой реальности» (Salvini, 1991, 15).
Другими словами, когда ригидность системы восприятия реальности и реакций на нее уже сформировалась, человек вынужден спонтанно перерабатывать любой воспринятый стимул или информацию, пропуская их через фильтр и деформирующую линзу страха. В этом случае имеет место самый настоящий «перевод» действительности на язык страха, который преображает таким образом действительность в нечто адекватное и соответствующее собственным ригидным перцептивно-когнитивным структурам.
Здесь читатель, проследив, насколько определяющим в поддержке проблемы является то, что человек предпринимает для ее решения, может задаться вопросом: что же заставляет людей упорствовать в повторении некоторых типов поведения или некоторых действий, в то время как иногда сами же эти люди признают их дисфункциональность для решения проблемы? Как получается, что страдающий агорафобией человек упорствует в своей стратегии избегания и обращения за помощью, даже если он осознает, что подобные действия поддерживают его проблему? Как получается, что страдающий обсессивно-компульсивным расстройством человек продолжает выполнять свои ритуалы, имеющие отношение к пугающей его действительности? Как получается, что человек с манией ипохондрического страха упорствует в поиске какой-либо конкретной болезни, несмотря на опровергающий диагноз?
Подобные вопросы представляются совершенно законными, поскольку для всех нас является естественным предположение о том, что человек, являясь существом мыслящим и осознающим, должен бы, получив определенную информацию и осознав определенные процессы, быть способным к управлению ситуацией в направлении благополучия.
На эти вопросы можно ответить, обращаясь к некоторым важнейшим причинам. Первой из них является тот факт, что большинство людей, опираясь на устаревшие психологические и медицинские концепции, зачастую затрудняется понять и принять альтернативные точки зрения. Однако это одна из самых несущественных причин, которая, с моей точки зрения; объясняет лишь малую часть случаев. В большинстве же случаев действует конструктивистское правило, согласно которому осознание и знание чего-либо не означает способность к выполнению этого. Как сказал бы фон Форстер, «правильно с точностью до наоборот», а именно: «если хочешь увидеть (и узнать), научись действовать». Следовательно, даже люди богатой культуры и острого ума, способные к пониманию сложнейших механизмов; которые часто бывают повторяющимися, самотворящими и парадоксальными, чаще всего осознают происходящее, но не в состоянии действовать иначе. Идея о том, что в процессе изменения происходит переход от мысли к действию, уже не актуальна, она устарела в свете конкретного опыта вмешательства. Как мы увидим в дальнейшем, действительное изменение предусматривает не только когнитивное изменение, но прежде всего изменение в восприятии, задействующим эмоциональные процессы, которые, в свою очередь, влияют на познавательные процессы и поведение. Чтобы стать реальным, подобное изменение перцептивно-реактивной системы должно пройти через конкретный опыт.
Другая причина, без особых сомнений позволяющая понять, каким образом действует «на уровне повторений нефункциональной стратегии» описанное выше упорство, заключается в том, что предпринимаемые фобическими субъектами попытки решения оказывают основной эффект, заключающийся во временном уменьшении симптома, в иллюзии спасения от страха, в ощущении защиты. Это означает, что в случае приступов паники человек инстинктивно осуществляет действия, которые как можно быстрее позволили бы ему добиться снижения симптома, принесли бы облегчение. В этот специфический момент человек не мыслит в терминах долгосрочности, не разрабатывает стратегии, он только реагирует на основании собственного восприятия в данный конкретный момент.
Предпринятые попытки решения, которые на деле обеспечивают гомеостазис проблемы и лишь усложняют ее, действуют, прежде всего, в качестве средства, позволяющего в данный момент избежать страха. В этом заключается главная причина их устойчивого существования.
Прочитали книгу? Предлагаем вам поделится своим впечатлением! Ваш отзыв будет полезен читателям, которые еще только собираются познакомиться с произведением.
Оставить комментарий
-
Вера Попова27 октябрь 01:40
Любовь у всех своя-разная,но всегда это слово ассоциируется с радостью,нежностью и счастьем!!! Всем добра!Автору СПАСИБО за добрую историю!
Любовь приходит в сентябре - Ника Крылатая
-
Вера Попова10 октябрь 15:04
Захватывает,понравилось, позитивно, рекомендую!Спасибо автору за хорошую историю!
Подарочек - Салма Кальк
-
Лиза04 октябрь 09:48
Роман просто супер давайте продолжение пожалуйста прочитаю обязательно Плакала я только когда Полина искала собаку Димы барса ♥️ Пожалуйста умаляю давайте еще !))
По осколкам твоего сердца - Анна Джейн
-
yokoo18 сентябрь 09:09
это прекрасный дарк роман!^^ очень нравится
#НенавистьЛюбовь. Книга вторая - Анна Джейн


