Читать книгу - "Секреты домашнего копчения - Валерий Бестужев"
Аннотация к книге "Секреты домашнего копчения - Валерий Бестужев", которую можно читать онлайн бесплатно без регистрации

Рис. 5. Коптильня из бочки:
1 – топка с направлением выхода дыма; 2 – корпус бочки без дна; 3 – крючки для продуктов; 4 – крышка с мелкими отверстиями для дыма; 5 – кирпичи; 6 – слой земли для защиты очага от утечки дыма и тепла
Необходимо контролировать процесс, чтобы происходило выделение дыма и коптильная смесь при этом не воспламенялась.
Снизу у основания бочки помещают поддон с коптильной смесью, в очаге разводят огонь.
Сделанные по такому принципу коптильные бочки позволяют получить температуру внутри конструкции в пределах 80—100 °С. Время копчения составляет примерно 3–4 ч в зависимости от температуры и концентрации дыма. Продукты подвешивают внутри бочки на крючьях, гвоздях либо прутьях.
Для этой коптильни потребуются две бочки. Изготовить ее тоже несложно. У бочек удаляют дно и устанавливают их друг на друга (рис. 6).
В верхней бочке должны быть предусмотрены поперечины для подвешивания продуктов. Верхнюю бочку закрывают крышкой с отверстиями и тканью для регулировки концентрации дыма внутри емкости.
В нижней бочке необходимо сделать отверстие для топки. На дне размещают металлический лист, на котором будут тлеть опилки.
Между двумя бочками устанавливают влажный фильтр для удержания сажи. В качестве фильтра можно использовать пропитанную водой ткань (мешковину).
Для лучшего охлаждения и фильтрации дыма к мешковине между бочками можно добавить слой влажной соломы.
Плотность дыма регулируется количеством тлеющих опилок в топке и перекрыванием отверстий в крышке верхней бочки. В такой коптильне необходимо поддерживать влажность не более 50 %. Если дым будет влажным и густым, а температура выше нормы, на продуктах осядет большое количество сажи.

Рис. 6. Коптильня из двух бочек:
1 – верхняя бочка; 2 – прутья-поперечины для подвешивания продуктов; 3 – крышка с отверстиями и мешковина; 4 – нижняя бочка; 5 – отверстие топки
Можно соорудить самодельную коптильню, используя 200-литровую металлическую бочку. Для этого необходимо вварить в бочку под прямым углом водопроводную трубу. Здесь возможны два варианта: первый предполагает приваривание трубы со стороны стенки бочки (рис. 7), второй – со стороны днища (рис. 8). Диаметр привариваемой трубы – около 32 мм.

Рис. 7. Коптильня с пеналом, приваренным к стенке бочки:
1 – гнет; 2 – крышка; 3 – металлическая решетка; 4 – труба; 5 – муфта; 6 – пенал с опилками; 7 – паяльная лампа; 8 – бочка
На выходящем наружу конце трубы необходимо нарезать резьбу и прикрутить угловую муфту выходом вниз. Из другого отрезка такой же трубы изготавливают стакан-пенал для опилок. Один из концов пенала заваривают, а на другом также нарезают резьбу. В пенал засыпают просушенные опилки и прикручивают к муфте.

Рис. 8. Коптильня с пеналом, вкрученным в днище бочки:
1 – паяльная лампа; 2 – металлический пенал с опилками; 3 – бочка
Получившийся пенал-стакан разогревают паяльной лампой. Приблизительно через 10–15 мин, когда в бочке появится дым, лампу гасят. Затем, спустя 2,5–3 ч, процедуру повторяют. В среднем для нормального копчения необходимо 5–6 таких сеансов. После этого продукцию вялят в течение 2–3 суток.
Коптильню, сконструированную из обычной железной бочки со вставными решетками (рис. 9), очень удобно использовать в полевых условиях, например непосредственно у места ловли рыбы.
Для сборки такой коптильни нужна металлическая бочка, предварительно прокаленная на огне, с хорошо подогнанной крышкой.

Рис. 9. Коптильня горячего копчения из металлической бочки:
а – вариант с решетками на раме, опирающейся на дно бочки; б – вариант с подвешенной решеткой:
1 – рыба; 2 – решетка; 3 – противень; 4 – топка
Вначале сооружают фундамент из кирпичей, сверху устанавливают бочку. В качестве очага можно использовать барбекю. На дно бочки выкладывают опилки и вставляют 3–4 решетки из проволоки для размещения продукции. Под бочкой разводят костер. Крышка бочки является регулятором концентрации дыма.
Для придания продуктам особого аромата при копчении можно установить на дно бочки (где тлеют опилки) противень с маслом и приправами.
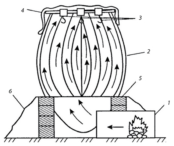
В качестве емкости для копчения в такой установке используется деревянная или стальная бочка с удаленным днищем (рис. 10).

Рис. 10. Компоновочная схема установки холодного копчения:
1 – приямок с тлеющим коптильным топливом; 2 – дымоход; 3 – решетка или сетка; 4 – бочка
Такую коптильню целесообразно размещать на склоне холма, так как для дымохода, соединяющего огонь с коптильней, требуется небольшой наклон.
Для начала в земле нужно выкопать траншею длиной около 2 м. Этот дымоход соединит топку с бочкой. Стенки дымохода следует укрепить, например кирпичом. Сверху траншею с дымоходом присыпают землей.
Бочку устанавливают на железный лист с отверстиями для дыма. В качестве крышки для бочки используют лист железа или мешковину.
Дым, проходя через дымоход, охлаждается, и процесс копчения происходит при невысокой температуре – 20–30 °С.
Такая коптильня прекрасно дополнит садовый гриль или барбекю, хотя можно разместить ее и отдельно. Преимуществом является то, что для строительства можно использовать какой угодно материал и снизить затраты до минимума.
Прочитали книгу? Предлагаем вам поделится своим впечатлением! Ваш отзыв будет полезен читателям, которые еще только собираются познакомиться с произведением.
Оставить комментарий
-
Вера Попова10 октябрь 15:04
Захватывает,понравилось, позитивно, рекомендую!Спасибо автору за хорошую историю!
Подарочек - Салма Кальк
-
Лиза04 октябрь 09:48
Роман просто супер давайте продолжение пожалуйста прочитаю обязательно Плакала я только когда Полина искала собаку Димы барса ♥️ Пожалуйста умаляю давайте еще !))
По осколкам твоего сердца - Анна Джейн
-
yokoo18 сентябрь 09:09
это прекрасный дарк роман!^^ очень нравится
#НенавистьЛюбовь. Книга вторая - Анна Джейн
-
Гость Алла10 август 14:46
Мне очень понравилась эта книга, когда я её читала в первый раз. А во второй понравилась еще больше. Чувствую,что буду читать и перечитывать периодически.Спасибо автору
Выбор без права выбора - Ольга Смирнова


