Читать книгу - "Сантехнические работы своими руками. Уроки домашнего мастера - Евгений Симонов"
Аннотация к книге "Сантехнические работы своими руками. Уроки домашнего мастера - Евгений Симонов", которую можно читать онлайн бесплатно без регистрации
Схема стандартной квартирной канализации
Другая ветвь — кухонная, с подключением мойки, посудомоечной и стиральной машин.
Третья ветвь — для ванной. К ней подключаются раковина, ванна, душевая кабина, стиральная машина, если она расположена в ванной.
Таким образом, положение помещений, где стоят приборы, имеющие подключение к канализационной сети, связано с положением стояка и ответвлений от него.
В коттедже имеется больше возможностей для варьирования размещения приборов, ведь в проекте можно учесть нужное количество стояков и разместить их там, где нам нужно. Например, при каждой спальне можно при желании устроить душевую кабину
Для чего нужны гидрозатворы?
От главных магистральных линий ведут ответвления, к которым подключаются сантехнические устройства. Каждое ответвление заканчивается гидрозатвором (на схеме они обозначены буквами ГЗ), то есть сифоном, который обязателен при подключении сантехнических приборов и нужен для образования водяной пробки, не позволяющей запахам из канализации попадать в дом.

Принцип работы гидрозатвора
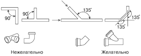
Нет — прямым углам!
При прокладке канализации по квартире ни в коем случае нельзя допускать прямых углов в соединениях канализационных труб. Иначе неизбежны засоры, ведь сточные воды тормозятся перпендикулярной плоскостью. При необходимости поворота трубы на 90° нужно сделать два поворота на 45° (в результате получится угол поворота соединительных деталей 135°).

Повороты труб канализации
Соединения канализационных труб
Для производства труб внутреннего трубопровода используются чугун, пластик, реже — керамика. Чугунные трубы нынче практически вышли из употребления, при капитальных ремонтах жилья их меняют на пластиковые. Последние бывают поливинилхлоридные, полипропиленовые или полиэтиленовые без существенных различий между ними.
Канализационные трубы стыкуют с помощью раструбных и муфтовых соединений. Чтобы включить в сеть стиральные либо посудомоечные машины, используется гибкая сантехническая подводка.
Монтаж чугунных труб осуществляется с помощью муфтовых и раструбных соединений.
Раструбное соединение — наиболее простое в исполнении. Конец одной трубы вставляется в расширение на конце другой. Раструб снабжен пазом для резинового кольца, служащего для герметичности соединения. С той же целью раструбное соединение укрепляется пенькой и замазывается цементом или битумом.
Муфтовое соединение канализационных труб выполняется аналогично с таким же соединением водопроводных труб.
Пластиковые канализационные трубы монтируются при помощи раструбных соединений. На одном конце трубы имеется срез с фаской. На другом конце расположена муфта, внутри которой находится уплотнительное кольцо, которое плотно обхватывает конец внутренней трубы. Трубу нужно сперва вставить в соединительную муфту до упора, а потом выдвинуть на 1,5 см назад для образования зазора. Дело в том, что пластиковые трубы обладают большим коэффициентом теплового расширения, длина кончика трубы, вставленного в муфту, может увеличиться на несколько миллиметров, и, если не будет зазора, трубы просто перекосит.
Существуют различные формы и виды фитингов канализационных труб.

Соединение пластиковых труб

Фитинги для канализации
Тройниковые фитинги удобны, например, для подсоединения стиральных или посудомоечных машин к раковинам.
Водопроводная система
В городских квартирах централизованная система водопровода, и проживающим в них не приходится идти на ухищрения, чтобы обеспечить свое жилище водой. Поэтому все работы в упомянутой системе сводятся к прокладке труб от стояка по квартире. Правда, иногда встречается вариант, когда даже в городском жилье нет централизованного горячего водоснабжения — в таком случае водопроводная система будет включать в себя еще и нагреватель воды (подробнее о котором написано в соответствующем разделе).
В загородном доме система водоснабжения будет несколько сложнее. Кроме внутренней разводки, необходимо подключиться к поселковому водопроводу, а если и его нет — оборудовать фильтровую или артезианскую скважину либо колодец. Затем провести до дома утепленный (чтобы трубы не перемерзали зимой в морозы!) водопровод, если надо — установить водонапорную башню или дополнительный насос.
Артезианская скважина — наиболее долговечный, пусть и более дорогой, вариант источника водоснабжения. Вода из нее отличается хорошим качеством.
Если напор воды оказывается недостаточным для дома, то имеет смысл установить насосную установку или водонапорный бак (небольшую водонапорную башню). Иногда, кстати, бак и насос используются вместе.
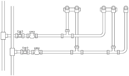
В этом разделе речь пойдет об основных схемах разводки водопровода — коллекторной и тройниковой. На самом деле схем вроде бы существует больше, но все остальные либо являются вариантами указанных основных, либо сочетают в себе элементы обеих схем.
Коллекторная система требует большей длины труб, но способствует более равномерному распределению воды по водозаборным точкам.

Коллекторная схема разводки водопровода
В квартире разводка водопроводных труб в любом случае начинается с вентиля или шарового крана. Согласно СНиП рабочее давление крана должно доходить до 60 атмосфер, а рабочая температура — до 150 °C. Этот же вентиль перекрывает воду в помещении в случае аварии или протечки водопровода.

Прочитали книгу? Предлагаем вам поделится своим впечатлением! Ваш отзыв будет полезен читателям, которые еще только собираются познакомиться с произведением.
Оставить комментарий
-
Вера Попова10 октябрь 15:04 Захватывает,понравилось, позитивно, рекомендую!Спасибо автору за хорошую историю! Подарочек - Салма Кальк
-
Лиза04 октябрь 09:48 Роман просто супер давайте продолжение пожалуйста прочитаю обязательно Плакала я только когда Полина искала собаку Димы барса ♥️ Пожалуйста умаляю давайте еще !)) По осколкам твоего сердца - Анна Джейн
-
yokoo18 сентябрь 09:09 это прекрасный дарк роман!^^ очень нравится #НенавистьЛюбовь. Книга вторая - Анна Джейн
-
Гость Алла10 август 14:46 Мне очень понравилась эта книга, когда я её читала в первый раз. А во второй понравилась еще больше. Чувствую,что буду читать и перечитывать периодически.Спасибо автору Выбор без права выбора - Ольга Смирнова