Читать книгу - "Азбука пчеловода. Руководство по разведению пчел на приусадебном участке - Н. Медведева"
Аннотация к книге "Азбука пчеловода. Руководство по разведению пчел на приусадебном участке - Н. Медведева", которую можно читать онлайн бесплатно без регистрации
Рамка размером 300 × 435 мм (узкая и высокая) называется варшавской расширенной (используется в украинских лежаках).
Таблица 2
Полезная площадь сотов различных ульевых рамок
На одной из стенок улья делается один или несколько летков. По отношению к ней рамки могут располагаться вдоль и поперек. Параллельное взаиморасположение летковой стенки и рамок называется теплым заносом, перпендикулярное – холодным. Какого-либо преимущества одного из них над другим не установлено, но учитывая то, что пчелы охотнее выращивают расплод ближе к летку, гнездовые рамки при расположении их на холодный занос нужно устраивать как бы в одинаковом положении относительно летка, тогда пчелы более или менее равномерно воспитывают на них потомство.
Может встретиться и косое расположение сотов, бывает и смешанный занос, т. е. когда пчелы, начав строить соты ребром к летку, через 2–3 сота переходят на холодный занос, или наоборот.
По характеру размещения рамок объем улья может увеличиваться в сторону (горизонтально) и вверх (вертикально). Отсюда ульи делятся на горизонтальные, или лежаки, и вертикальные, или стояки.
В горизонтальных ульях объем гнезда расширяется в горизонтальном направлении (рамки ставят сбоку гнезда); гнездо и медовый магазин находятся рядом друг с другом, т. е. пчелы складывают мед в рамки, поставленные рядом с гнездом.
Горизонтальный улей имеет вид вытянутого в длину ящика со съемной или откидывающейся на петлях крышей, плоской или двускатной. Длина его зависит от количества рамок. Поскольку ширина горизонтальных ульев всегда больше высоты, их еще называют лежаками.
Чтобы просчитать длину лежака, число рамок надо умножить на ширину боковой планки рамки с постоянным разделителем (37 мм) плюс толщина двух диафрагм – заставных досок (30 мм), плюс ширина трех улочек между диафрагмами и сотами (18 мм). Для лежака на 20 рамок она составляет: 37 × 20+30+18=788 (790) мм. Высота улья – 390 мм. Ее составляют: 300 мм – высота рамки плюс 20 мм – подрамочное пространство (между нижней планкой рамки и дном), плюс 10 мм – подрамочное пространство, плюс 10 мм – толщина потолка, плюс 50 мм подпотолочное пространстве. Ширина улья складывается из ширины рамки (435 мм) плюс ширина пространства между боковыми планками рамок и передней и задней стенками улья (по 7,5 мм) – итого 450 мм.
Дно у лежаков обычно прибито наглухо.
В этом же улье (по его конструкции) рядом с основной семьей можно держать запасную матку или один-два отводка. С учетом этого в улье делают два летка, расположенных на передней стенке, а иногда и третий – боковой или задний.
Если главный леток находится посреди передней стенки, гнездо с расплодом локализуется в средней части улья, а мед накапливается по обе стороны от гнезда. Если леток расположен ближе к верхней или нижней стенке, то гнездо занимает прилегающую к летку часть улья, а магазин – противоположную.
Лежаки – самый традиционный и наиболее простой в эксплуатации вид ульев. В большинстве случаев лежак может обслуживать один человек, в нем обеспечивается доступ к любой части гнезда. Другие достоинства лежака – одинаковый размер рамок и легкость их установки.
Недостаток лежака и в том, что осенью, зимой и весной свободную часть улья нельзя убрать на склад.
Чтобы избежать этого неудобства, лежаки расставляют парами и осенью в один из них, перегороженный пополам наглухо, помещают семью из второго лежака, а освободившийся убирают на склад. В конце весны семьи снова высаживают в два улья.
Наибольшее распространение у нас получил горизонтальный улей на 20–24 рамки размером 435–300 мм, а на Украине – 300 × 435 мм.

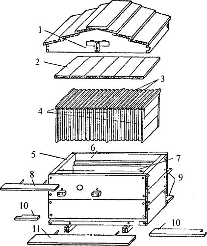
Рис. 6. Типовой улей-лежак в разобранном виде: 1 – отверстие для вентиляции; 2 – потолочные доски; 3 – гнездовые рамки; 4 – разделительные доски; 5 – корпус с неотъемным дном; 6 – фальц для потолка; 7 – фальц для рамок; 8 – прилетная доска верхнего летка; 9 – прилетная доска; 10 – летковый заградитель; 11 – прилетная доска нижнего летка
Улей-лежак в большей степени отвечает биологическим требованиям южных, в частности кавказских пчел, которые неохотно осваивают верхние корпуса для расширения и складывания кормовых запасов.
Ульи-лежаки с надставками иногда условно называют комбинированными. Они сочетают в себе как черты лежака, так и черты стояка. По мере усиления семей весной гнезда увеличивают в горизонтальном направлении, пока не заполнят весь улей. Далее увеличение объема происходит за счет надставок улья дополнительными корпусами, частично или полностью заполненными низкими рамками, часто с углубленными ячейками. В этих корпусах над расплодом пчелы складывают запасы меда (однако какая-то его часть откладывается и в боковых сотах).
Используются ульи с надставками с целью отделения сотов с медом от сотов с расплодом. С одной стороны, это облегчает отбор меда, с другой – обеспечивает высокое качество товарного меда.
Рамки размером 435 × 300 мм или 300 × 435 мм – самые большие среди всех используемых в мире. Использование 12–16 рамок такого размера и надставки позволяет получить гнездо и магазин, дающие возможность пчелиным семьям стать значительно сильнее и резко увеличить запасы меда.
Использование надставки несколько затрудняет обслуживание улья: трудно производить осмотр под надставкой, на медогонке необходимо обрабатывать рамки из двух магазинов (бокового и верхнего), рамки используют двух размеров. Однако частичная разборность комбинированных ульев увеличивает оперативность их использования в сравнении с лежаками; их легче транспортировать, легче отбирать товарный мед.
В вертикальных ульях при необходимости объем увеличивается постановкой наверх корпусов или магазинных надставок.
Состоят стояки, как правило, из 2–3 ярусов, каждый из которых содержит небольшое количество рамок (около 10 штук).
Прочитали книгу? Предлагаем вам поделится своим впечатлением! Ваш отзыв будет полезен читателям, которые еще только собираются познакомиться с произведением.
Оставить комментарий
-
Вера Попова27 октябрь 01:40
Любовь у всех своя-разная,но всегда это слово ассоциируется с радостью,нежностью и счастьем!!! Всем добра!Автору СПАСИБО за добрую историю!
Любовь приходит в сентябре - Ника Крылатая
-
Вера Попова10 октябрь 15:04
Захватывает,понравилось, позитивно, рекомендую!Спасибо автору за хорошую историю!
Подарочек - Салма Кальк
-
Лиза04 октябрь 09:48
Роман просто супер давайте продолжение пожалуйста прочитаю обязательно Плакала я только когда Полина искала собаку Димы барса ♥️ Пожалуйста умаляю давайте еще !))
По осколкам твоего сердца - Анна Джейн
-
yokoo18 сентябрь 09:09
это прекрасный дарк роман!^^ очень нравится
#НенавистьЛюбовь. Книга вторая - Анна Джейн


