Читать книгу - "История лазера - Марио Бертолотти"
Аннотация к книге "История лазера - Марио Бертолотти", которую можно читать онлайн бесплатно без регистрации
Параллельно с теоретическими изучениями уравнений Максвелла проводились экспериментальные исследования по генерации электрических колебаний, получаемых при разряде обычного конденсатора в электрической цепи, и выявляемые как осциллирующий ток в этой цепи. С 1847 г. Герман фон Гельмгольц доказал, что в некоторых случаях разряд конденсатора должен носить колебательный характер. Вильям Томсон в 1853 г. дал математическую формулу, устанавливающую, при каких параметрах компонентов цепи в ней получаются колебания.
Работая с колебательными цепями такого вида, Генрих Герц, молодой и тогда неизвестный немец, добился успеха в генерировании и обнаружении электромагнитных волн.
Генрих Герц (1857—1894) родился в Гамбурге. Он был сыном прокурора, ставшего позднее сенатором. Будучи блестящим студентом, он в равной степени преуспевал и в гуманитарных дисциплинах, и в науках. Также он показал большие способности в проектировании и создании научной аппаратуры. Предполагалось, что молодой Герц последует традициям семьи в области права, но с десяти лет он стал интересоваться естественными науками и после обучения в ряде школ решил изучать инженерное дело в Дрезденском политехникуме в 1876 г. Когда ему исполнилось 20, он был призван в армию. После службы он решил закончить свое инженерное обучение в Мюнхене, но вскоре оставил инженерное поприще ради физики. В 1878 г. он поступил в Берлинский университет для работы под руководством Гельмгольца и Кирхгофа и в 1880 г. получил докторскую степень.
Герман фон Гельмгольц переехал в Берлин в 1870 г. из Гейдельберга, сменив кафедру физиологии на кафедру физики. В течение многих лет Гельмгольц интересовался физическими свойствами организмов и биологическими процессами, в частности процессами ощущений. Эти изучения убедили его в том, что полное описание процессов, касающихся нервной системы, требует понимания обмена энергией в живых телах, и важную роль играет термодинамика и электричество. Здесь уже были важные достижения, включающие закон сохранения энергии. Когда он приехал в Берлин, то начал серию исследований в области электричества, и Герц, который появился в 1878 г., принял участия в этом деле. Ему посчастливилось обратить на себя внимание Гельмгольца, который, после получения Герцем ученой степени, назначил его своим ассистентом. В 1883 г. Герц стал по рекомендации Кирхгофа приват-доцентом Киле, а в 1885 г. стал профессором физики в Карлсруе. Для этого университета требовался кто-нибудь, кто мог бы преподавать электрические технологии. В то время последние успехи в передаче энергии, электрический свет и другие применения электричества сделали электричество принципиальной технологией. Работы Герца, уже сделанные в этой области, а также поддержка Гельмгольцем помогли ему получить это место. Герц скончался очень молодым от хронического заражения крови в тот же год, в который скончался его покровитель Гельмгольц.
Как часто случается, Герц пришел к открытию электромагнитных волн, первоначально не стремясь их обнаружить.
В 1879 г. Берлинская Академия наук установила награду за исследование проблемы экспериментально установить соотношение между изменяющимися электрическими полями и откликами материалов на эти поля (поляризуемость). В это время Герц занимался электромагнитными исследованиями в Берлинском Физико-техническом институте и его наставник Гельмгольц привлек его внимание к этой проблеме. Первоначально Герц подошел к изучению электрических колебаний, используя для их получения лейденскую банку (вид электрического конденсатора), но вскоре пришел к заключению, что только эффекты, «лежащие за пределами наблюдений», могут быть интересны. Поэтому он подошел к проблеме с другой стороны, вернувшись к ней девятью годами спустя, в 1888 г., и успешно решив ее, как часть его классических экспериментальных работ по электромагнитным волнам. В 1886—1887 гг. он при выполнении некоторых экспериментов обнаружил что если кусок медной проволоки согнуть в виде прямоугольника так, чтобы между концами проволоки был маленький воздушный промежуток, и поместить этот прямоугольник рядом с искровым разрядом индукционной катушки (мы будем называть ее первичной цепью), то в промежутке открытой цепи прямоугольника проскакивает искра. Он правильно интерпретировал это явление, показав, что согнутая проволока (мы будем называть ее вторичной цепью) имеет такие размеры, которые делают свободный период колебаний в ней, почти равный периоду колебаний в первичной цепи.
Открытие, что в воздушном промежутке вторичной цепи могут возникать искры (при подходящих размерах для резонанса), давало метод наблюдения электрических эффектов в воздухе на расстоянии от первоначального возбудителя: детектор, требуемый Фитцджеральдом для наблюдения распространения электрических волн, теперь был в руках.
Неизвестный Герцу Давид Эдвард Хьюз (1830—1900) несколькими годами ранее опередил его. Он показал, что электрические искры можно обнаружить на расстоянии до около 500 м микрофоном (позднее он был назван «когером»), включенным в телефонную трубку. Он правильно утверждал, что эти сигналы были от электрических волн в воздухе. В 1879—1980 гг. он продемонстрировал эти эксперименты президенту Королевского Общества сэру Джорджу Стоксу и В. Прису — Главному электрику Почтовой службы. К сожалению, они пришли к другому объяснению этого явления, и Хьюз, разочаровавшись, не опубликовал своих результатов, которые стали известными много позже.
После короткого перерыва, в течение которого Герц был занят изучением влияния облучения ультрафиолетовыми лучами на электрический разряд, проведя, тем самым, первые наблюдения фотоэлектрического эффекта, он в 1888 г. улучшил схему получения искр. Регистрируя эффект с помощью вторичной цепи, удалось продемонстрировать, что испускаются электромагнитные волны. Оливер Лодж (1851-1940) также в начале 1888 г. открыл электромагнитные волны. Он продемонстрировал их распространение и отражение вдоль проволок и выполнил точные измерения их длин волн. Однако, вместо того, чтобы немедленно опубликовать свои результаты, он отправился на отдых в Альпы, полагая, что его эксперименты произведут впечатление на очередном конгрессе Британской Ассоциации развития науки, который должен был быть в сентябре. На этом конгрессе, Фитцджеральд, который ничего не знал о работе Лоджа, громогласно объявил, что неизвестный немец Генрих Герц сумел генерировать и детектировать электромагнитные волны в воздухе.

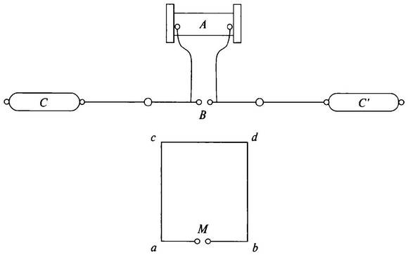
Рис. 24. На верхней части показан вибратор (осциллятор) Герца, а на нижней — резонатор. А — катушка Румкфорда, В — два шарика, между которыми проскакивает искра; С и С’ — два больших проводника, которые заряжаются от катушки. Цепь abcd — резонатор Герца, а M — два шарика, между которыми можно видеть искорку
Для получения своих искр Герц использовал различные экспериментальные конфигурации. Одна из них показана на рис. 24. Две металлические сферы диаметром около 30 см были каждая на конце прямой медной проволоки. Центры сфер были на расстоянии 1 м. В середине проволока разрывалась с двумя шариками на концах разрыва. Расстояние между этими шариками (несколько см в диаметре) можно было регулировать до типичного значения порядка 1 мм. Размеры были выбраны так, чтобы возникающие волны можно было обнаружить вторичной цепью соответствующего размера. Для возбуждения цепи была использована катушка Румкорфа, с помощью которой две сферы заряжались противоположным знаком. При достижении нужного напряжения происходил искровой пробой, и искра проскакивала между шариками. При этом система разряжалась через ряд колебаний с частотой, определяемой размерами сфер и их взаимным расположением. Эти колебания затухали, когда энергия, связанная с первоначальным зарядом, испускалась в пространство в виде электромагнитных волн. К концу года Герц продемонстрировал сходство электромагнитных волн со светом, показав, что они могут отражаться» распространяться прямолинейно после прохождения отверстия в экране, испытывают дифракцию, и другие свойства, подобные свету,
Прочитали книгу? Предлагаем вам поделится своим впечатлением! Ваш отзыв будет полезен читателям, которые еще только собираются познакомиться с произведением.
Оставить комментарий
-
Илья12 январь 15:30
Книга прекрасная особенно потому что Ее дали в полном виде а не в отрывке
Горький пепел - Ирина Котова
-
Гость Алексей04 январь 19:45
По фрагменту нечего комментировать.
Бригадный генерал. Плацдарм для одиночки - Макс Глебов
-
Гость галина01 январь 18:22
Очень интересная книга. Читаю с удовольствием, не отрываясь. Спасибо! А где продолжение? Интересно же знать, а что дальше?
Чужой мир 3. Игры с хищниками - Альбер Торш
-
Олена кам22 декабрь 06:54
Слушаю по порядку эту серию книг про Дашу Васильеву. Мне очень нравится. Но вот уже третий день захожу, нажимаю на треугольник и ничего не происходит. Не включается
Донцова Дарья - Дантисты тоже плачут


