Читать книгу - "Водоснабжение, канализация и отопление загородного дома - Иван Никитко"

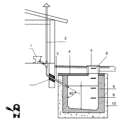
Рис. 2.2.Подключение выгребной ямы к внутренней канализации дома: 1 – сантехническое оборудование в доме; 2 – вентиляционная труба; 3 – стояк; 4 – плита перекрытия; 5 – чугунная крышка; 6 – ступеньки; 7 – кирпичная кладка; 8 – кирпичные или бетонные стены; 9 – цементная штукатурка; 10 – глиняный замок
Для последующей очистки выгребной ямы в перекрытии предусматривается люк, обычно размером 70 × 70 см. Люк должен иметь две крышки: одна располагается над перекрытием, а вторая – на уровне почвы. Перекрытие изолируется слоем жирной глины (0,25–0,3 м) и засыпается грунтом.
Минусом выгребной ямы является необходимость контроля ее заполнения. Когда выгребная яма заполняется, нужно вызывать ассенизационную машину для очистки – следовательно, приходится еще устраивать подъездную дорожку к яме (Рис. 2.3). Если проживание в доме сезонное или наездами, то очистка требуется раз в несколько сезонов. Если в доме даже при сезонном использовании проживает несколько человек, то очищать выгребную яму приходится раз в сезон.

Рис. 2.3.Очистка выгребной ямы
Если дом предназначен для постоянного проживания или семья довольно большая, то одной выгребной ямой не обойтись либо придется очищать ее несколько раз в месяц, да еще и ограничивать использование воды для бытовых нужд (например, отказаться от принятия ванны или душа, заменив эту процедуру легкими обтираниями губкой). В этом случае проблему сточных вод придется решать с помощью индивидуальных очистных сооружений.
Обычно индивидуальные очистные сооружения представляют собой септики фильтрующий колодец( фильтрующие траншеи, поля подземной фильтрации– в зависимости от объема сточных вод, подлежащих очистке) (Рис. 2.4).
Септик – это емкость для отстаивания и первичной очистки сточных вод. Такая емкость может быть изготовлена из полиэтилена, пластика, металла, бетона. Самыми дешевыми являются септики из полиэтилена и пластика. Они имеют еще один плюс: их легко устанавливать (эти септики немного весят). К минусам полиэтиленовых и пластиковых септиков относится небольшой срок эксплуатации – материалы довольно хрупкие и подверженные внешним воздействиям (особенно сильно полиэтилен и пластик разрушаются в морозные зимы – материалы обладают низкой морозоустойчивостью). Так что сэкономленное при приобретении полиэтиленового или пластикового септика приходится доплачивать за счет частой замены.

Рис. 2.4.Однокамерный поверхностный септик: 1 – септик; 2 – ввод стоков в септик из дома; 3 – вентиляция; 4 – вывод осветленных сточных вод в фильтрующий колодец
Металлические септики отличаются прочностью, но они подвержены коррозии, особенно в условиях агрессивной среды сточных вод. Можно использовать септики из нержавеющей стали, но цена на них весьма далека от демократичной.
Оптимальным по соотношению «цена/качество» является бетонный септик. К плюсам бетона относится его устойчивость к неблагоприятным воздействиям внешней среды, бетон не гниет и не ржавеет. Недостатком бетонного септика является сложность установки, но это компенсируется длительным сроком эксплуатации. Единственная проблема бетонного септика – гигроскопичность материала, поэтому требуется устройство надежной гидроизоляции корпуса.
Стандартный септик состоит из трех камер, соединенных друг с другом. Соединение выполняется таким образом, что скорость перемещения стоков между камерами очень мала, и они могут отстаиваться, разделяясь на фракции. При этом твердая фракция выпадает в виде осадка на дно, а газообразная выходит из септика, перемещение продолжает жидкая фракция. К моменту выхода сточных вод из септика практически вся твердая фракция удаляется, а воды осветляются примерно до 65 %. Такое осветление еще недостаточно, чтобы сточные воды можно было сразу сбрасывать в водоем или даже просто в грунт там, где они могут просочиться в систему водоснабжения или даже в сад. Поэтому после септика сточные воды должны отводиться для дальнейшей фильтрации либо в фильтрующие колодцы, либо в фильтрующие канавы, либо на поле поглощения.
Следует помнить, что септики нуждаются в периодическом обслуживании, так как осевшую на дно твердую фракцию необходимо регулярно удалять. Периодичность обслуживания – примерно раз в год (в зависимости от объема септика и объема сточных вод). Выбирая септик, необходимо учитывать суточный объем сточных вод: в соответствии с санитарными нормами анаэробный процесс их брожения (процесс, протекающий при отсутствии кислорода) должен длиться трое суток, поэтому объем септика должен быть как минимум в три раза больше, чем суточный объем сточных вод.
Фильтрующий колодец – простейший и самый малогабаритный вариант подземной фильтрации сточных вод, поступающих из септика (Рис. 2.5, 2.6).
Фильтрующий колодец используется, если объем сточных вод не превышает 1 м 3. При больших объемах следует использовать фильтрующую траншею или поле поглощения (фильтрующее поле) (Рис. 2.7).
Поле поглощения можно устроить, если грунт на участке песчаный, а грунтовые воды залегают достаточно глубоко – не выше 1,5 м (чтобы не было инфильтрации грунтовых вод сточными водами). Поскольку в России большинство грунтов – глина и суглинок, приходится устраивать искусственный поглощающий слой из песка и щебня.
Недостаток поля поглощения в том, что под него приходится выделять довольно солидный кусок участка. Так, для семьи из 5 человек по существующим нормативам следует выделить минимально 20 м 2под поле поглощения. При этом над полем поглощения нельзя сажать деревья, располагать какие-либо постройки, подъездные дороги и т. д. Допускается только разбивка клумб. Поэтому, занимаясь планировкой участка, размещением малых архитектурных форм (например, беседок, пергол и т. д.) и хозяйственных построек, следует сразу же предусмотреть, где будет располагаться поле поглощения и каким образом к нему будут подводиться воды из септика.

Рис. 2.5.Устройство фильтрующего колодца: 1 – ввод от септика; 2 – вентиляция; 3 – отражающая плита (используется для предотвращения вымывания ямы в слое песка); 4 – песок (20–30 см); 5 – гравийная подушка (толщина подушки – 0,8–1 м, фракция – 40–60 мм); 6 – грунт; 7 – стены колодца (кирпич, железобетон, железобетонные кольца); 8 – крышка колодца
Прочитали книгу? Предлагаем вам поделится своим впечатлением! Ваш отзыв будет полезен читателям, которые еще только собираются познакомиться с произведением.
Оставить комментарий
- Аида06 май 10:49Дикарь королевских кровей. Книга 2. Леди-фаворитка - Анна Сергеевна ГавриловаЧитала легко, местами хоть занудно. Но, это лучше, чем 70% подобной тематики произведений.
- вера02 май 00:32Сокровище в пелёнках - Ирина Агуловатекст не четкий трудно читать наверное надоест сброшу книгу может посоветуете как улучшить
- Калинин максим30 апрель 10:11Время Темных охотников - Евгений ГаглоевНедавно прочитал книгу «Время тёмных охотников» и хочу поделиться своими впечатлениями. Автор создал увлекательный мир, полный тайн и загадок. Сюжет затягивает с первых
- Vera24 апрель 16:25Мемуары голодной попаданки - Наталья ВладимироваБольшое спасибо. Прочитала на одном дыхании. Очень положительная героиня. Желаю автору здоровья и новых увлекательный книг.







