Читать книгу - "Сантехнические работы своими руками. Уроки домашнего мастера - Евгений Симонов"
Аннотация к книге "Сантехнические работы своими руками. Уроки домашнего мастера - Евгений Симонов", которую можно читать онлайн бесплатно без регистрации
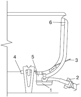
Устройство ванны: 1 — напольный сифон; 2 — раструб канализации; 3 — металлическая полоса заземления; 4 — металлический клин опоры; 5 — сливная труба; 6 — труба перелива
Сливные решетки и воронки, применяемые в старых ваннах, делали из латуни, это достаточно мягкий материал. Поэтому мы будем выпиливать сливную решетку из ванны. Да-да, именно выпиливать! Осторожно, чтобы не повредить эмаль, с внутренней стороны ванны, с помощью ножовки. Если ножовка не проходит через край сливной решетки, то будем разбивать ее молотком и зубилом. Справившись с этим, приступаем к следующему этапу. Нам нужно из воронки выпилить кусок, часть окружности. Сделали. Берем зубило, оно должно быть гладко заточенным, шириной не более 10 мм, ставим его перпендикулярно дну ванны и выбиваем выпиленный кусок. Дальше — проще. Через это отверстие деформируем оставшуюся часть слива, под ванной, делаем это так, чтобы распиленные края ванны оказались загнутыми вовнутрь. Теперь через сливное отверстие вытаскиваем наш слив, отсоединяем трубу перелива и достаем отводную трубу из канализации. Если она крепилась с помощью цемента, то придется еще немного поработать молотком и зубилом. Вставляем в раструб канализации кляп диаметром около 70 мм. Отсоединяем полосу заземления, которая закреплена клином. Нам нужно выбить этот клин из проушины зубилом. Теперь осталось снять саму ванну. Если ванна была установлена на железобетонных подставках, просто снимаем ее с подставок. Если ванна стояла на ножках и крепится клином, выбиваем клин и снимаем ее с ножек. Если клин заело, снимаем вместе с ножками. Наконец-то можно выносить ванну, держа ее в вертикальном положении.
Теперь установим новую ванну.
Обратите внимание, что в этом разделе дается инструкция по установке обычной ванны, не имеющей подключения к электросети. Если вы хотите установить ванну с «наворотами», требующими электропитания, то ищите инструкцию в подразделе «Установка джакузи».
Установка ванны не зависит от материала, из которого она изготовлена. Разница заключается только в том, что чугунная ванна гораздо тяжелее акриловых и пластиковых «подруг», которые вполне можно установить одному. С чугунной же придется повозиться и даже прибегнуть к помощи других людей.
Ванны бывают прямоугольные и круглобортные. Прямоугольная форма нам всем знакома с детства, во всех старых домах стоят такие ванны. Ее ставят прямо к стене. Круглобортную ванну ставят либо на специальный каркас, либо применяют другие меры предосторожности. Так, ее нужно отставлять от стены на 5–6 см, чтобы иметь возможность вытереть воду в случае ее проливания на пол. Еще используют шторки, концы которых опускаются непосредственно в ванну.
Начинаем установку ванны. Сначала нужно подготовить место, где мы будем ее устанавливать. В первую очередь выровняем полы. Обычно смена ванны совпадает с проведением ремонта в ванной комнате. Поэтому делаем все на совесть. Можно сделать цементную стяжку, технология ее выполнения изложена в разделе «Теплый пол = теплый дом». Можно залить специальный выравнивающий раствор. Потом кладем плитку на пол и на стены. Если ставим чугунную ванну, то нужно выложить стену, у которой стоит ванна, полностью. Многие желают сэкономить на плитке, рассчитывая, что под ванной все равно ничего не видно, но. поверьте, скупой платит дважды, поэтому лучше сделать все как следует. Если будем ставить стальную ванну, то плитку кладем после установки ванны.
Круглобортная ванна
Место подготовили. Теперь приступаем к установке ванны. Лучше работать с помощником, все-таки ванна — предмет громоздкий, помощь будет нелишней. Заносим ванну, держа ее вертикально, кладем, повернув днищем к месту установки, примерно в 70–80 см от него.
Приступаем к монтажу сливной системы. В ванну ставят не просто слив, а слив-перелив. Слив находится на дне ванны, недалеко от кранов, а перелив — в верхней части ванны. Система «слив-перелив» идет в комплекте либо с самой ванной, либо с сифоном.
Начинаем монтаж со сливной воронки. Ставим сливную решетку в отверстие слива, снизу на воронку ставим уплотнительное кольцо, прижимное кольцо из металла или пластика. Закручиваем решетку болтом, смотрим, чтобы прижимное кольцо не скосилось. На наружную резьбу прижимного кольца накручиваем тройник с прижимной гайкой. Ставим уплотнительное кольцо. Тройник располагаем так, чтобы боковой отвод был повернут к ближайшей стене. Затем ставим в переливное отверстие решетку перелива. Обращаем внимание на то, чтобы отводная труба этой конструкции была направлена вниз. Теперь соединяем отводную трубу с тройником при помощи рукава. Сверху рукав обрезаем и просто надеваем его на трубу, а снизу навинчиваем на резьбу тройника с помощью резьбовой гайки.
Теперь ставим ножки на ванну. К той стенке, которая сверху, присоединяем две ножки. Если в конструкции предусмотрены клинья, то забиваем их. Делаем это в несколько этапов, периодически простукивая ножку в разных направлениях. Если клиньев нет. то ставим просто на болтах, простукивать при этом необязательно. Шлифуем болгаркой наплывы на посадочных местах. Устанавливаем на ножках регулировочные винты с фиксирующими гайками. Поворачиваем ванну днищем вниз и поддерживаем ту сторону, которая пока без ножек. Подкладываем под эту сторону какую-то опору и ставим вторую пару ножек. Все. наша ванна стоит на своих ногах.
Устанавливаем сифон. Для этого вытаскиваем кляп из раструба канализации, ставим туда уплотнительное кольцо, внешний диаметр которого 70 мм. вставляем в него отводную трубу сифона, прикручиваем верхний конец трубы к тройнику.
Пододвигаем ванну к месту установки, оставляем небольшой зазор, выравниваем ее с помощью уровня. Регулировочными винтами варьируем высоту ножек до тех пор, пока уровень не покажет идеальное значение. Теперь фиксируем гайками выбранную высоту ножек.
Герметичность установки сифона проверим дважды. Сначала нальем в ванну немного воды, подложим под сифон тряпку. Проверим, течет ли вода. Если не течет, то закрываем ванну, наливаем побольше воды, сливаем.
Для ванны применяется настенный смеситель. Он крепится на трубах, подведенных к ванне от центрального водоснабжения. Иногда смеситель на раковине и ванне совмещают.
Встречается такое, что в систему слива-перелива встраивают впуск воды в ванну. В этом случае установка производится строго по инструкции изготовителя.
Приступаем к очень важному делу. Будем заземлять ванну. В чугунных и стальных ваннах есть специальный выступ, называемый спецприливом. К нему мы прикрутим один конец проводника. Другой конец крепим к водопроводной трубе. Но такой способ заземления годится только в случае с обычной ванной, не требующей подключения к электросети.
Прочитали книгу? Предлагаем вам поделится своим впечатлением! Ваш отзыв будет полезен читателям, которые еще только собираются познакомиться с произведением.
Оставить комментарий
-
Илья12 январь 15:30
Книга прекрасная особенно потому что Ее дали в полном виде а не в отрывке
Горький пепел - Ирина Котова
-
Гость Алексей04 январь 19:45
По фрагменту нечего комментировать.
Бригадный генерал. Плацдарм для одиночки - Макс Глебов
-
Гость галина01 январь 18:22
Очень интересная книга. Читаю с удовольствием, не отрываясь. Спасибо! А где продолжение? Интересно же знать, а что дальше?
Чужой мир 3. Игры с хищниками - Альбер Торш
-
Олена кам22 декабрь 06:54
Слушаю по порядку эту серию книг про Дашу Васильеву. Мне очень нравится. Но вот уже третий день захожу, нажимаю на треугольник и ничего не происходит. Не включается
Донцова Дарья - Дантисты тоже плачут


