Читать книгу - "Сантехнические работы своими руками. Уроки домашнего мастера - Евгений Симонов"
Аннотация к книге "Сантехнические работы своими руками. Уроки домашнего мастера - Евгений Симонов", которую можно читать онлайн бесплатно без регистрации
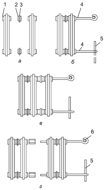
После этого нужно снять крайнюю секцию, развинтить все секции радиаторов и начать группировать их. Чтобы сгруппировать две секции, сперва ниппелями необходимо захватить с каждой стороны 2–3 нитки резьбы и одновременно закрутить оба ниппеля. Таким образом собирается батарея из нужного количества секций.
Собранный радиатор нужно опрессовать. Если обнаружится течь, необходимо подкрутить ниппели. Батарея готова, теперь ее можно красить.

Группировка радиаторных секций: а — захватывание ниппелями резьбы секций (2–3 нитки); б — закручивание ниппелей и стыковка секций; в — монтаж третьей секции; г — группировка двух радиаторов: 1 — секция; 2 — ниппель; 3 — прокладка. 4 — короткий радиаторный ключ; 5 — ломик; 6 — длинный радиаторный ключ
Приступаем к установке радиаторной батареи. Сперва, вычислив положение радиатора, устанавливаем крепеж. Настенный радиатор, который ставится только в городской квартире, крепится на кронштейнах. В дачном доме с деревянными стенами радиатор необходимо крепить на расположенных на полу подставках, а на стене разместить поддерживающие крепления. Для стен облегченной конструкции имеются особые крепления — кронштейны с цельной опорой. Во время покупки радиатора проследите, чтобы крепления, входящие в комплект, соответствовали типу стены в вашем доме или квартире.

Крепление радиаторов в зависимости от типа стены: а — у деревянной стены (1 — планка, 2 — подставка); б — у кирпичной оштукатуренной стены (1 — подоконник, 2 — ниша, 3 — кронштейн); в — у стены облегченной конструкции (1 — кронштейн с цельной опорой)
Вооружаемся рулеткой и карандашом и находим центр окна, с которым центр радиатора должен совпадать с точностью до 2 см. Учтите, что расстояние радиатора от пола должно быть не менее 6 см, а 5 см нужно оставить между верхом радиатора и подоконником.
Приложив радиатор к стене, отмечаем места установки креплений и выравниваем их по уровню. Ребра радиаторов нужно расположить строго вертикально. Радиаторные батареи в одной комнате должны располагаться на одном уровне.
Если вы крепите радиатор на кронштейнах, учтите, что 1 кронштейн должен приходиться на 1 кв. м его поверхности. Кронштейны нужно ставить на глубину не менее 12 см. замуровывая их цементным раствором.
Итак, крепление установлено, и радиатор повешен. Теперь нужно подсоединить его к системе отопления. Выворачиваем заглушки с батареи, после чего к системе подключаем байпас с вентилем и при помощи сгонов монтируем радиатор в систему.
Специфика монтажа алюминиевых и биметаллических радиаторов
Помните, что при монтаже алюминиевого и биметаллического радиатора его нельзя распаковывать до окончания монтажа и проверки работоспособности.
Строго запрещается зачистка каких-либо соединяемых поверхностей напильниками или наждаком, иначе не избежать протечек.
На каждый радиатор для выпуска воздуха обязательно установите клапан типа крана Маевского.
Во время затягивания клапана прилагаемые усилия не должны превышать 12 кг, поэтому используйте динамометрический ключ. Он позволит соизмерить усилия при затягивании клапана.
Кронштейны установите в соответствии с инструкцией, повесьте на них радиатор и подсоедините его при помощи сгонового соединения.
Отопление дома с помощью подогрева полов — не наше изобретение. Такие системы широко применялись еще в Древнем Риме, чаще всего в римских банях, которые назывались термами. Дома патрициев тоже были оснащены такими «удобствами». Конечно, прогресс с тех времен шагнул далеко, и нам не нужно думать об устройстве в подвале системы печей и каналов, как это было в Риме.
Каковы же преимущества теплых полов по сравнению с иными отопительными системами?
Во-первых, теплый пол создает направленный поток теплого воздуха, равномерно распределяя тепло в помещении. Известно, что наиболее приемлемое для человека распределение температур — когда температура в районе ног чуть выше температуры на уровне головы. Есть даже поговорка «Держи голову в холоде, а ноги в тепле». Именно это и достигается применением теплого пола.
Во-вторых, если у вас на даче электрическое отопление, теплые полы значительно более экономичны, чем радиаторы, потому что теряют меньше тепла.
Теплые полы бывают двух видов: электрические, нагревающие пол с помощью кабеля или пленки, подключенных к источнику электричества, и водяные, основанные на применении гибкой водяной трубы, подключенной к центральной или местной магистрали.
Как же выбрать систему обогрева пола?
Если вы житель городской многоэтажки, вероятно, электрический теплый пол станет вашим единственным вариантом, поскольку в большинстве стран СНГ запрещено устанавливать водяные теплые полы в многоквартирных домах, потому что они нарушают общую систему отопления.
Но если городским «каменным джунглям» вы предпочли коттедж в сельской местности, то не совершите ошибки, установив в нем водяной теплый пол, ведь это наиболее экономичный выбор для вас.
Выравниваем пол с помощью стяжки
Выравнивания пола вам избежать не удастся. Тем более что цементную стяжку в кирпичном, блочном, панельном (не деревянном!) доме делать, в принципе, несложно.
Вы можете использовать для стяжки потолочный профиль для гипсокартона.
Закрепите профили на уровне самой высокой точки пола и сделайте каркас. Расстояние между направляющими должно быть 60–80 см.

Каркас для стяжки
Следующий шаг — грунтовка основы. Раствор для грунтовки должен быть достаточно густым, примерно консистенции жидкой сметаны, если пол в помещении напоминает стиральную доску и требует стяжку толщиной 5 см. Если пол более или менее ровный, хватает стяжки толщиной 2 см. Тогда раствор должен достичь консистенции жидкого кефира.
Когда грунт затвердеет, на что уйдут примерно сутки, готовим основной цементный раствор, заливаем его между направляющими и выравниваем правилом. Правило — это ровная дощечка длиной около метра.
После «схватывания» пола вынимайте направляющие и замажьте пустоты остатками цементного раствора. Когда он высохнет, стяжка готова.
Прочитали книгу? Предлагаем вам поделится своим впечатлением! Ваш отзыв будет полезен читателям, которые еще только собираются познакомиться с произведением.
Оставить комментарий
-
Вера Попова10 октябрь 15:04 Захватывает,понравилось, позитивно, рекомендую!Спасибо автору за хорошую историю! Подарочек - Салма Кальк
-
Лиза04 октябрь 09:48 Роман просто супер давайте продолжение пожалуйста прочитаю обязательно Плакала я только когда Полина искала собаку Димы барса ♥️ Пожалуйста умаляю давайте еще !)) По осколкам твоего сердца - Анна Джейн
-
yokoo18 сентябрь 09:09 это прекрасный дарк роман!^^ очень нравится #НенавистьЛюбовь. Книга вторая - Анна Джейн
-
Гость Алла10 август 14:46 Мне очень понравилась эта книга, когда я её читала в первый раз. А во второй понравилась еще больше. Чувствую,что буду читать и перечитывать периодически.Спасибо автору Выбор без права выбора - Ольга Смирнова