Читать книгу - "Готовим в микроволновой печи - Лидия Калугина"
Аннотация к книге "Готовим в микроволновой печи - Лидия Калугина", которую можно читать онлайн бесплатно без регистрации
Компоненты
Баранина – 400 г Баклажаны – 2 штуки Лук репчатый – 2 головки Помидоры – 2 штуки Масло растительное – 1/4 стакана Мука – 2 столовые ложки Сметана – 1/4 стакана Брынза тертая – 3 столовые ложки Сельдерей и кинза – по 1 столовой ложке Перец черный молотый и соль – по вкусу
Способ приготовления
Баклажаны промыть, сложить в посуду, накрыть крышкой и прогреть при максимальной мощности 5–6 минут, вынуть из печи и остудить. Снять с баклажанов кожицу, мелко нарезать, смешать их с половиной масла, посыпать мукой и тертой брынзой, полить сметаной и прогревать при максимальной мощности 3–5 минут.
Баранину промыть и нарезать небольшими кусочками, добавить мелко нарезанный лук, растительное масло, посолить и поперчить, все перемешать и прогреть при максимальной мощности 7–8 минут.
Помидоры очистить от кожуры, нарезать и положить в тушеное мясо, прогреть еще при максимальной мощности 3–5 минут.
Подавать на стол с тушеными баклажанами и зеленью.
Компоненты
Баранина – 400 г Картофель – 300 г Лук репчатый – 1 головка Бульон мясной – 1/2 стакана Перец черный молотый и соль – по вкусу
Способ приготовления
Баранину нарезать небольшими кусочками.
Картофель и лук почистить и нарезать небольшими кубиками, все сложить в посуду, поперчить и посолить, залить бульоном и прогревать под специальной пленкой при максимальной мощности 10–15 минут.
Компоненты
Баранина – 400 г Лук репчатый – 1 головка Чеснок – 2 зубчика Вино сухое красное – 1/2 стакана Масло растительное – 1 столовая ложка Имбирь – 1/2 чайной ложки Перец черный и соль – по вкусу
Способ приготовления
Чеснок почистить, растолочь и смешать с имбирем.
Баранину натереть смесью чеснока с имбирем и нарезать на порционные куски.
Лук почистить и нарезать кольцами.
В посуду сложить куски баранины, лук, масло и вино, поперчить и посолить, все перемешать и выдержать на холоде 3 часа, периодически перемешивая.
Затем посуду закрыть специальной пленкой и прогреть при максимальной мощности 14–17 минут, периодически перемешивая. Выдержать 10 минут
Компоненты
Баранина – 400 г Лук репчатый – 1 головка Чеснок – 2 зубчика Помидоры – 3 штуки Паста томатная – 2 столовые ложки Масло сливочное – 2 столовые ложки Перец черный молотый и соль – по вкусу
Способ приготовления
Баранину нарезать небольшими кусочками, сложить в посуду.
Лук и чеснок почистить, мелко нарезать и добавить к баранине, туда же положить масло и томатную пасту, поперчить и посолить.
Прогревать под крышкой при максимальной мощности 18–23 минуты, выдержать 10 минут.
После чего в баранину положить нарезанные дольками помидоры и прогреть еще при максимальной мощности 4–5 минут. Выдержать 15 минут.
Компоненты
Баранина – 900 г Кетчуп томатный – 4 столовые ложки Сметана – 4 столовые ложки Чеснок – 1 зубчик Листья мяты – 10 штук Соль – по вкусу
Способ приготовления
Смешать кетчуп со сметаной и измельченным чесноком.
Баранину нарезать на кусочки, сложить одним слоем в посуду, предварительно смазанную маслом и выстланную листьями мяты. Сверху баранину смазать половиной полученного соуса и прогревать при максимальной мощности 7–9 минут, не накрывая крышкой.
Осторожно перевернуть баранину, смазать вторую сторону оставшимся соусом и прогреть еще 7–9 минут при той же мощности. Выдержать 7 минут.
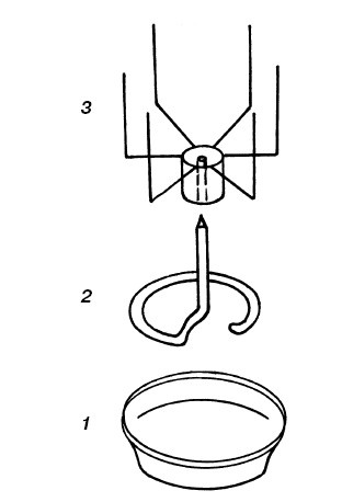
*Для приготовления шашлыка лучше всего использовать набор приспособлений, показанных на рис. 10.

Рис. 10. Приспособления для приготовления шашлыков:
1 – стеклянная миска; 2 – вертел, вставляемый в миску; 3 – мультивертел, надеваемый на вертел
Компоненты
Баранина нежирная – 300 г
Хлеб белый – 100 г
Лук репчатый – 1 головка
Чеснок – 2 зубчика
Сметана – 1 столовая ложка
Яйцо – 1 штука
Перец черный и соль – по вкусу
Способ приготовления
Баранину пропустить через мясорубку.
Лук и чеснок почистить и также пропустить через мясорубку вместе с предварительно вымоченным и отжатым хлебом.
Все компоненты фарша сложить в посуду и перемешать, туда же добавить сметану и вбить яйцо, посолить и поперчить, все перемешать и сформировать котлеты.
Котлеты положить на блюдо или решетку и выпекать при максимальной мощности 2,5–3 минуты, затем котлеты перевернуть и прогреть еще столько же.
Компоненты
Баранина – 1 кг Горчица– 1 столовая ложка Вино сухое белое – 1/2 стакана Масло растительное – 4 столовые ложки Чеснок – 6 зубчиков Перец молотый и соль – по вкусу
Способ приготовления
Чеснок почистить и растолочь, смешать с горчицей, добавить вино и масло, полученный маринад хорошо перемешать. Баранину обмакнуть в маринад и оставить в холодном месте на 4–6 часов.
Мясо положить в жаровню и запекать при средней мощности микроволн и температуре 180 градусов 25–35 минут, периодически переворачивая мясо. Затем вынуть из печи, завернуть в фольгу и выдержать 20 минут.
Разрезать на порционные куски и подавать с зеленью.
Компоненты
Баранина с косточками – 2 куска по 500 г Рис отварной – 1 1/2 стакана Лук репчатый – 2 головки Зелень сельдерея измельченная – 2 столовые ложки Яйцо – 1 штука Сметана – 1/2 стакана Перец молотый и соль – по вкусу
Способ приготовления
Лук почистить и мелко нарезать, смешать рис с луком и зеленью, посолить и поперчить, добавить взбитое яйцо, все хорошо перемешать.
Прочитали книгу? Предлагаем вам поделится своим впечатлением! Ваш отзыв будет полезен читателям, которые еще только собираются познакомиться с произведением.
Оставить комментарий
-
Вера Попова27 октябрь 01:40
Любовь у всех своя-разная,но всегда это слово ассоциируется с радостью,нежностью и счастьем!!! Всем добра!Автору СПАСИБО за добрую историю!
Любовь приходит в сентябре - Ника Крылатая
-
Вера Попова10 октябрь 15:04
Захватывает,понравилось, позитивно, рекомендую!Спасибо автору за хорошую историю!
Подарочек - Салма Кальк
-
Лиза04 октябрь 09:48
Роман просто супер давайте продолжение пожалуйста прочитаю обязательно Плакала я только когда Полина искала собаку Димы барса ♥️ Пожалуйста умаляю давайте еще !))
По осколкам твоего сердца - Анна Джейн
-
yokoo18 сентябрь 09:09
это прекрасный дарк роман!^^ очень нравится
#НенавистьЛюбовь. Книга вторая - Анна Джейн


